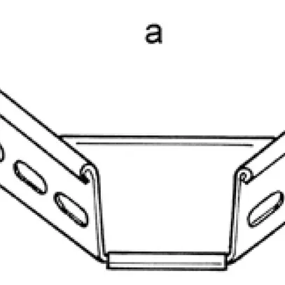
Sortie en T Lanz 600×110mm ZMA

Sortie en T Lanz 600×110mm ZMA

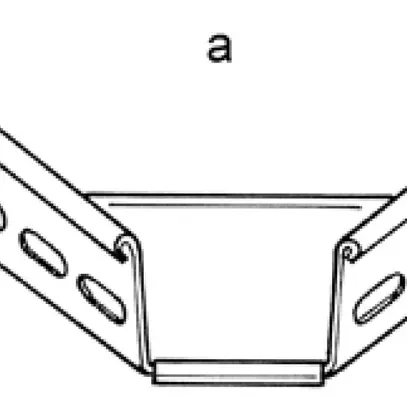
Dérivation T Lanz 600×110mm
N° ELDAS®:
127015356
EAN:
127015356
WG.FG:
75.23
Nr. Four.:
307729
Dans le catalogue Eldas au chapitre 3 à la page 40
%
Sortie en T Lanz 600×110mm ZMA
Sortie en T Lanz 600×110mm ZMA
Sortie en T Lanz 600×110mm ZMA
Sortie en T Lanz 600×110mm ZMA