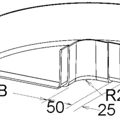
Angolo orizzontale Niedax KK W, (r interno 25 mm)
| materiale | materiale sintetico |
| colore | altri |
| spessore del materiale | 3 mm |
| protezione della superfice | altri |
| versione | connettore integrato |
| qualità del materiale | materiale sintetico rinforzato con fibra di vetro |
| numero RAL | 7032 |
| adatto per mantenimento funzionalità | No |
| cambio di direzione | orizzontale |
| versione a campata lunga | No |
| acciaio inossidabile, decapato | No |
| raggio interno | 25 mm |
| foro per montaggio nel pavimento | No |
| angolo | 90° |
| schema di foratura NATO | No |
| altezza del canale portacavi | 50 mm |
| larghezza del canale portacavi | 100 mm |
| perforazione laterale | No |